阻容分压器的仪器结构
阻容分压器采用阻容分压法测量高压交直流,如图1所示。左侧是高压部分,采用阻容分压电路,由阻抗Z1和Z2两部分组成。高压Ui从上端均压球处输入,从阻抗Z2处输出低压取样信号Uo;右侧是低压显示表,用于处理低压取样信号Uo。低压取样信号Uo经整流滤波放大处理后送入低压显示表显示。高压Ui和Uo关系式如公式(1)所示:

仪器结构
本产品是由高压分压器和低压显示仪表两部分构成。
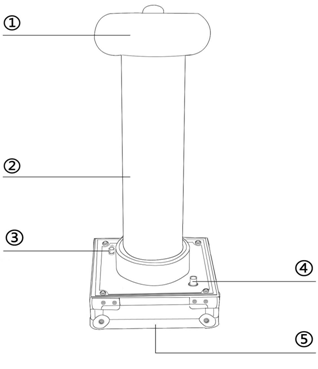
1、高压分压器部分
① 均压球② 分压器绝缘筒③ 接地柱
④ 信号采样输出⑤ 分压器底座
2、低压显示表部分
图3 低压显示表
①液晶显示表头②信号采样输入③电源开关
④交直流选择⑤高低档位切换
以上是阻容分压器的仪器结构,如果需要的,可联系客服获取对应的选型和报价。
本产品是由高压分压器和低压显示仪表两部分构成。
1、高压分压器部分
图2 高压分压器
① 均压球② 分压器绝缘筒③ 接地柱
④ 信号采样输出⑤ 分压器底座
2、低压显示表部分
①液晶显示表头②信号采样输入③电源开关
④交直流选择⑤高低档位切换
以上是阻容分压器的仪器结构,如果需要的,可联系客服获取对应的选型和报价。
- 上一篇: 直流高压发生器用于泄漏及直流耐压试验
- 下一篇: 直高发空升试验验证电压保护整定值








